迅睿开源框架是一款PHP8高性能·简单易用的PHP开源开发框架, 基于MIT开源许可协议发布,不限制商业使用,以多端互联为设计理念, 支持的微信公众号、小程序、APP客户端、移动端网站、PC网站等多终端式管理系统。
业务经理
微信扫描以上二维码
028-61286886
技术咨询
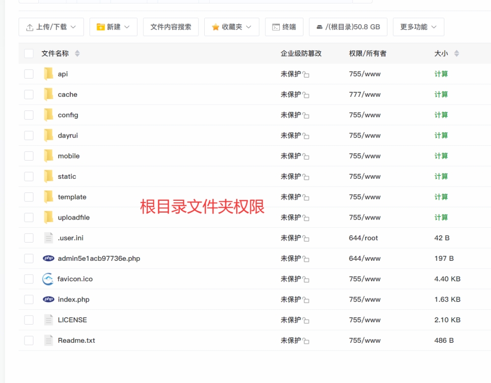
今天发布信息的时候,突然就不能上传图片了,上传组件无法上传图片,提示弹框“文件创建失败”,然后试了一下同服务器的其它项目相同的4.7.1版本网站,其它的项目网站又可以